Kies je categorie
Productbeschrijving
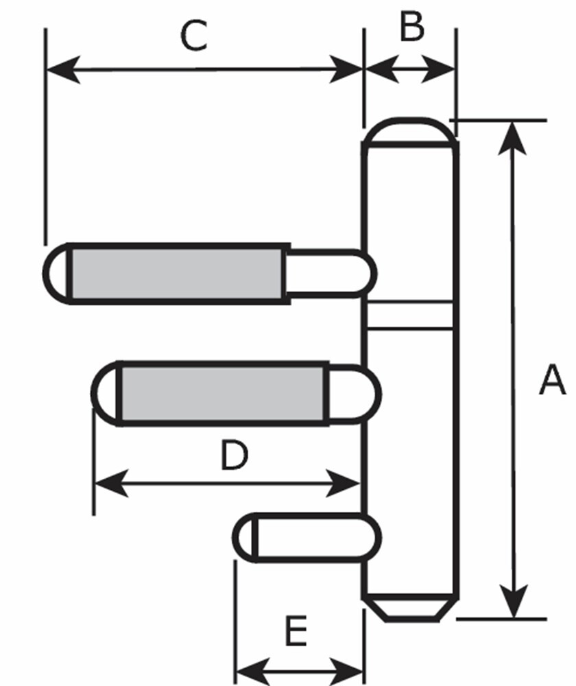
Voor het afhangen van opdekdeuren in houten kozijnen gebruikt u deze inboorpaumelle. Door het model en de maatvoering is deze paumelle universeel toepasbaar op houten kozijnen en hangt u een opdekdeur eenvoudig af. Opdekdeuren worden binnenshuis toegepast, bijvoorbeeld als deur naar een slaapkamer, werkkamer, studeerkamer of meterkast. En of u nu een basic, industrieel of klassiek interieur heeft. Door de keuze uit maar liefst vijf verschillende finishes laat u de inboorpaumelle perfect aansluiten op uw interieurstijl.

De nylon ring van deze inboorpaumelle garandeert een langdurig geruisloze werking en montage is eenvoudig. Bovendien is hij onderhoudsvrij! De paumelle is zowel voor links- als rechtsdraaiende deuren geschikt. De onderste en bovenste helft kunnen los van elkaar bevestigd worden, alvorens de deur in zijn geheel af te hangen. Met een gangbare inbussleutel is de deur ten alle tijden na te stellen. Het grote voordeel van een paumelle is bovendien dat de deur na montage gemakkelijk in en uit het kozijn getild kan worden, ideaal voor bijvoorbeeld schilderwerkzaamheden.

Wist u trouwens dat u niet alleen voor het hangwerk bij ons terecht kunt? Met ons ruime assortiment binnendeurbeslag voorziet u uw gehele binnendeur van al het benodigde hang- en sluitwerk. Bekijk bijvoorbeeld eens ons aanbod binnendeursloten, schilden en rozetten of deurkrukken.
Product specificaties
Attribuut naamAttribuut waarde
bewerking (fabricage, afwerking)gelakt
toepassing (gebied)opdekdeur
materiaalstaal
bewerking (oppervlaktebehandeling)gelakt
aantal (delen, bestaande uit)2-delig
kleurzwart
kleur (basis)zwart

Inboorpaumelle 14mm hout zwart

Merk 2
Fabrikant: Merk 2
EAN-nummer: 8714140210817
Artikelnummer: 4210002
€ 7,52 excl. BTW
Prijs per Stuk van 1 Stuk(s)
Beschikbaarheid: Niet op voorraad: backorder mogelijk
Product specificaties
Attribuut naamAttribuut waarde
bewerking (fabricage, afwerking)gelakt
toepassing (gebied)opdekdeur
materiaalstaal
bewerking (oppervlaktebehandeling)gelakt
aantal (delen, bestaande uit)2-delig
kleurzwart
kleur (basis)zwart